当前位置:网站首页 > 学术特区 < 考试资讯

26人监理考试违规违纪,成绩作废!

2021-08-08 19:10:35

图片

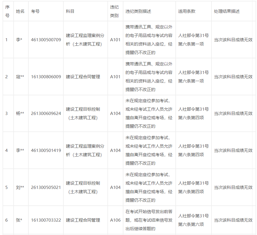
根据人力资源和社会保障部《专业技术人员资格考试违纪违规行为处理规定》(人社部令第31号),陕西省人事考试中心经核实有关应试人员违纪违规行为事实后研究决定,拟对参加2021年度监理工程师职业资格考试陕西考区有违纪违规行为的应试人员作相应处理。

此公告涉及的违纪违规应试人员,自公告发布之日起5个工作日内,可根据有关规定向省人事考试中心书面提交复核申请,逾期不再受理。

现将有关情况公告如下:

图片图片图片图片